Author Topic: Ruger  (Read 10495 times)

bafsu92

  • Top Forum Member
  • *****
  • Posts: 597
  • Si vis Pacem, Para bellum
  • Liked:
  • Likes Given: 0
Re: Ruger
« Reply #30 on: October 29, 2010, 08:09:00 PM »
Not a top break and not in the under $1000 range but these are really cool: http://www.merwinhulbertco.com/index.php
Cogito, ergo armatum sum

"Capitalization is the difference between helping
your Uncle Jack off a horse and helping your uncle jack off a horse." - Unknown

"Political Correctness is a doctrine fostered by a delusional illogical liberal minority and rabidly promoted by an unscrupulous liberal press,which holds forth the proposition that it is entirely possible to pick up a turd by the clean end." - Unknown

billt

  • Top Forum Member
  • *****
  • Posts: 6751
  • Liked:
  • Likes Given: 478
Re: Ruger
« Reply #31 on: October 29, 2010, 08:14:20 PM »
Shouldn't it be the reverse? Bullet that matches the bore=more accuracy than bullet that is undersized?
FQ13

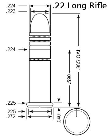
22LR's run from .223 to .224 for the bullet diameter, and .22 Mag is .222. My mistake. I don't know what Ruger Single Six bores run, as I have not slugged one. I would guess they are made to accommodate the .22 LR's larger dia. This would make the Magnums less accurate, having to rattle down the larger bore. My Single Six shoots .22 Magnum rounds with acceptable accuracy, but not as accurately as good .22 LR target ammunition. If Ruger bores the barrels of the .357 / 9 MM Convertibles to accommodate the .357 dia .38 bullets, it would have the same effect on the .355 9 MM bullets, shooting them less accurately.   Bill T.

seeker_two

  • Top Forum Member
  • *****
  • Posts: 727
  • Liked:
  • Likes Given: 0
Re: Ruger
« Reply #32 on: October 29, 2010, 10:34:14 PM »
Wouldn't you be stuck with half moon clips?
FQ13

And exactly how would half-moon clips made for a 5-shot revolver work out?.....  :-\
Why, yes....I'm the right-wing extremist Obama warned you about... ;D

I just wish Texas was as free and independent as everyone thinks it is...   :'(

tombogan03884

  • Guest
Re: Ruger
« Reply #33 on: October 29, 2010, 11:53:20 PM »
They make FULL moon clips as well, and they make them in 5 shot, I'm pretty sure the Company selling the guns sells them.

Hazcat

  • Top Forum Member
  • *****
  • Posts: 10457
  • DRTV Ranger
  • Liked:
  • Likes Given: 0
Re: Ruger
« Reply #34 on: October 30, 2010, 08:51:33 AM »
I don't want any thing with moon clips as then you are stuck using them.  Can't single load if ya need / want to.
All tipoes and misspelings are copi-righted.  Pleeze do not reuse without ritten persimmons  :D

Sponsor

  • Guest
Re: Ruger
« Reply #35 on: Today at 01:35:15 AM »

Rastus

  • Mindlessness Fuels Tyranny
  • Top Forum Member
  • *****
  • Posts: 7356
  • DRTV Ranger
  • Liked:
  • Likes Given: 895
Re: Ruger
« Reply #35 on: October 30, 2010, 08:55:04 AM »
I don't want any thing with moon clips as then you are stuck using them.  Can't single load if ya need / want to.

Yeah I know about clips.  I've got my dad's old 16 gauge Mossberg bolt action shotgun.  It's so old I can't find a new clip to replace the broken one...

Heh, heh, heh, not to stir up any fur or anything around here....
Necessity is the plea for every infringement of human freedom.
It is the argument of tyrants; it is the creed of slaves.
-William Pitt, British Prime-Minister (1759-1806)
                                                                                                                               Avoid subjugation, join the NRA!

seeker_two

  • Top Forum Member
  • *****
  • Posts: 727
  • Liked:
  • Likes Given: 0
Re: Ruger
« Reply #36 on: October 30, 2010, 09:09:24 AM »
I don't want any thing with moon clips as then you are stuck using them.  Can't single load if ya need / want to.

Sure you can...extraction would be a bit difficult if you didn't have a pen or a dowel on you...
Why, yes....I'm the right-wing extremist Obama warned you about... ;D

I just wish Texas was as free and independent as everyone thinks it is...   :'(

m25operator

  • Top Forum Member
  • *****
  • Posts: 2630
  • DRTV Ranger
  • Liked:
  • Likes Given: 2
Re: Ruger
« Reply #37 on: October 30, 2010, 07:11:58 PM »
Well this is an interesting conversation, many good points and mis information, .22lr is .222, .22mag is .224", so the mag is not loose in the bore but tight, and not much ammo to choose from, many find one or the other works the best, especially in the model 63 Smith. Now as to SA's if your shooting factory ammo, it just gives you 2 choices, in 1 pistol, one more accurate than the other, But if you reload, with lead bullets, ask you bullet manufacturer to size the 9 mm in . 3565" works excellent in both, .38spl, .357 mag and 9mm. If you stick with factory, expect 2 different results, as far as accuracy. Why do we want dual caliber pistol, because it has dual uses, not that 1 won't work, but it gives us extra usage and flexiibility with one pistol. The Smith 947 did not use moon clips, but an interesting extraction process, that does not rely on clips, they are collectors items now.
" The Pact, to defend, if not TO AVENGE '  Tarna the Tarachian.

Hazcat

  • Top Forum Member
  • *****
  • Posts: 10457
  • DRTV Ranger
  • Liked:
  • Likes Given: 0
Re: Ruger
« Reply #38 on: October 30, 2010, 08:06:51 PM »
Wow!  That S&W 947 must be rare!  Couldn't find anything on it in a cpuple of minutes on search engines.  Got a link or can ya explain the extraction method?
All tipoes and misspelings are copi-righted.  Pleeze do not reuse without ritten persimmons  :D

billt

  • Top Forum Member
  • *****
  • Posts: 6751
  • Liked:
  • Likes Given: 478
Re: Ruger
« Reply #39 on: October 30, 2010, 08:10:19 PM »

 

SMF spam blocked by CleanTalk